
|
|
|
|
|
|
|
|
|
|
Wind-Do will produce network wind turbines. In this picture, we can see two sizes of wind turbines install in the ditches of cultivated land. It is important to notice that not a square meter of productive land is used by the wind farm |
![]() |
|
Democratization of electricity production Here we have a small network of wind turbine install on the roof of a factory. To respect the structure of the building, some wind turbine are stopped with wind of 35 Km/h, some more at 40, 45 and 50 Km/h. The system is completely off at 60 Km/h, which append only 40-50 hours per year. |
![]() |
|
Tree size wind turbines With 10 m. mass and 10 m. turbine, our apparatus will not create any visual or noise disturbance at 300 m. of a house. |
![]() |
![]() |
![]() |
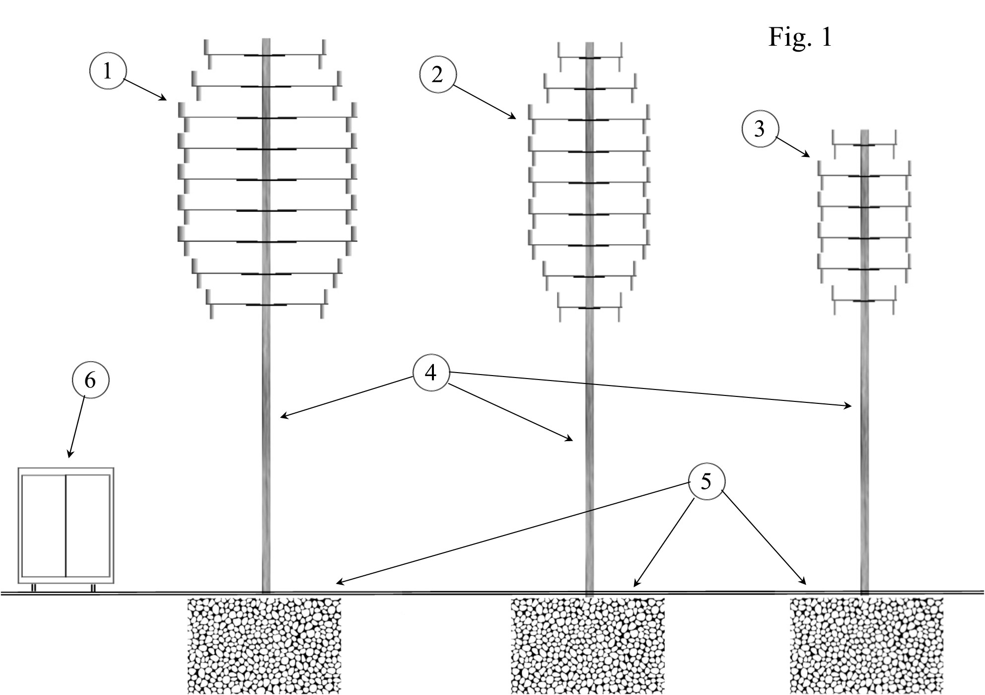
| Modular wind turbines are standard apparatus (turbine + mass + foundation + gear box/generator + wiring and electro-technique) that will be base on 10 Kw of capacity. Basic turbine will harness 20 square meters of wind. Some turbine will be set for low wind, with larger turbines, and some other for high wind, with smaller harnessing surface. |
![]() |
| Modular wind farms will use several size and configurations of wind turbine to optimize the electricity production of a site, base on the available wind profile. |
![]() |
|
Modular wind farms could be optimize for maximum electricity production, but also to fit low wind site, or to counterbalance production of large wind turbines. Reducing the average speed require to be profitable, the area available for wind farm is multiply by three to five. On this wind map picture around Montréal, the fuchsia colour represents the site available for standard wind turbines, and the pink one the extra area available for wind-Do wind farm. |
![]() |
| Our testing wind turbine is a real size slice of our basic wind turbine. You can see our prototype under wind in our YouTube chain 'winddopreview/videos' |
![]() |
![]() |